「指数沪深」沪深股票最新解析(沪深300指数性价比凸显 )
今天,神州网给大家普及下关于「指数沪深」沪深股票最新解析(沪深300指数性价比凸显 )的知识。
回顾2月份A股市场走势,较1月份表现明显企稳。三大股指走出了一个宽幅震荡的行情,上证指数反弹了3%,沪深300小幅企稳上涨0.39%,创业板则是探底回升小幅下跌0.95%,比1月份的-12.45%明显好了很多。
“投资中国力量”的核心指数
站在当前时点,尽管目前俄乌局势暂未看到缓和迹象,以美国为首的西方集团对俄制裁也在逐步升级,俄乌局势的逐步恶化对全球大宗商品供应链产生较大不确定性,加剧全球通胀的担忧。
但从过往历史看,海外地缘政治冲突仅会带来短期扰动,并不会改变A股中期趋势。A股政策底、市场底与情绪底已依次确认,A股在当前估值水平下机会大于风险,短期两会召开在即,“稳增长”有望持续加码,信贷数据超预期后宽货币初步传导至宽信用,驱动A股中期向好。
正如富荣基金研究部总经理郎骋成所言,宽基指数中长期投资的机会或许已经出现,值得积极关注。(详见文章:《郎骋成:宽基指数中长期投资机会或已出现》)
作为整个A股市场最具代表性的宽基指数,沪深300指数成分股基本覆盖了A股流通市值最大、影响力最大的300只股票,这些股票本身就是最具竞争优势的龙头企业,代表了所有上市公司中最核心的力量,能够体现整个A股市场的核心价值。
在行业占比上,金融房地产合计占比24.02%,消费(主要和可选)合计占比21.53%,工业占比20.31%,信息技术占比11.49%,医药卫生占比9%。
数据来源:中证指数官网
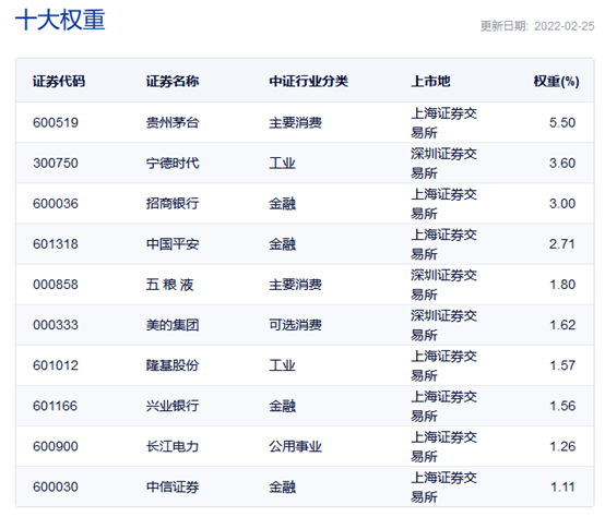
从指数前十大重仓股可以看出,基本上都是国内上市的各行业龙头,因此买沪深300指数基金业被不少人戏称为“投资国运”,正是因为指数代表了国内这些头部上市公司的整体表现。
数据来源:中证指数官网
风险提示:成分券仅供说明指数构成使用,不构成任何推荐和建议。
巴菲特曾在2019年致股东信中表示,回顾他77年的投资历史,他和芒格高兴地承认,伯克希尔的成功在很大程度上只是搭了美国经济的顺风车。以史为鉴,投资沪深300指数也是看好中国经济的发展趋势。
估值性价比凸显
估值方面,沪深300指数作为典型的大市值宽基指数,截至2022年2月28日,市盈率为13.21,处在上市以来历史估值分位数44.25%左右,为中性偏低的估值分位。结合全球范围内的利率下行,从股债配置性价比的角度上看,这一估值水平已经具有一定的吸引力。
美国顶级投行摩根大通首席策略师Wendy Liu表示,过去几个月,沪深300指数公司的业绩增速预期已经在上升,从之前预测的约17%提高至20%左右。如果对这一增长适用13倍市盈率,就能在沪深300指数上至少看到20%的上升空间。
他认为,随着中国公司盈利的改善以及货币政策的宽松,中国股市基准指数——沪深300指数可以走出自2021年以来的颓势行情,在未来12个月内重回历史高位附近。
Wendy Liu补充称,中美之间不同的货币政策基调,增加了中国采取宽松政策的可能性。与整体经济恢复、基础设施支出和房地产市场复苏相关的股票将有较大的上涨空间,大盘的上升空间打开将主要来自于材料股、金融股和工业股。
截至2022年2月28日,沪深300指数报4581.65点,而2021年创下的历史高位为5931.91点,这意味着未来大盘可能有约29%的上涨空间。
“指数+”更具配置价值
指数基金又分为被动指数基金和指数增强型基金,前者完全跟踪指数表现、获取指数贝塔收益,后者在获取指数投资收益的基础上,通过主动管理努力获取超越指数水平的阿尔法收益。
富荣基金倾力打造的“指数+”产品——富荣沪深300指数增强基金采取“主动量化”的增强方式,通过自上而下和自下而上两套选股逻辑形成攻守均衡、策略互补的沪深300混合增强策略,力争为持有人获取更稳健的超额收益。据海通证券研究所报告显示,富荣沪深300指数增强A最近2年超额收益率为80.18%,超额收益排名占据同类基金第1位①。
据富荣沪深300指数增强基金的基金经理郎骋成介绍,该基金量化方面主要采用的是宏观模型和传统的因子打分方法,通过量化模型输出对当前经济以及行业景气度的判断,并以此指导行业的超配和低配方向。
确定了行业配置方向之后,主动研究就会介入进来。富荣基金对主动研究的定位是剔除因子中的“毛刺”,因此更加关注公司的经营管理和业务发展,尽量保证公司的基本面和因子的打分结果是匹配的。
由此可见,“指数+”产品同时具备了主动型基金和被动型基金的优点,它存在价值在于,为想投资指数的投资者,提供一个近似于指数、又适度强于指数的投资机会。
目前,沪深300指数估值处于近两年的低位,随着2021年市场消化了之前核心资产效应下积累的估值,沪深300指数当前具备良好的安全边际,配置价值显著,追求超额收益的“指数+”产品值得关注
数据来源①:海通证券研究所报告,分类标准:增强股票指数型,数据截至:2022年1月28日。最近2年富荣沪深300 增强A超额排名1/145。
富荣沪深300指数增强基金由富荣福泰灵活配置混合型基金变更注册而来,自2019年1月24日起正式实施转型,并于2021年4月19日增加存托凭证投资范围和投资策略。富荣沪300指数增强A由邓宇翔(2018.11.06-至今)与郎骋成(2020.07.16-至今)共同管理;富荣沪深300指数增强A成立于2019年1月24日,2019年-2021年的业绩及同期业绩比较基准分别为:45%/28.83%、85.59%/25.86%、10.16%/-4.85%。富荣沪深300指数增强C由邓宇翔(2018.11.06-至今)与郎骋成(2020.07.16-至今)共同管理;富荣沪深300指数增强C成立于2019年1月24日,2019年-2021年基金业绩及其业绩基准回报分别为:44.84%/28.83%、85.41%/25.86%、10.05%/-4.85%。数据来源:富荣基金官网、基金定期报告,数据截至2021年12月31日。
风险提示:
基金管理人承诺以诚实信用、勤勉尽责的原则管理和运用基金资产,但不保证本基金一定盈利,也不保证最低收益。基金的过往业绩及其净值高低并不预示其未来业绩表现。基金管理人提醒投资人基金投资的“买者自负”原则,在做出投资决策后,基金运营状况与基金净值变化引致的投资风险,由投资人自行负担。我国基金运作时间较短,不能反映股市发展的所有阶段。本文案不构成投资建议,投资者据此操作风险自担。
